阿里巴巴入股匠多多 或进军家装行业
2019-03-18 10:05:30 新浪科技 互联网
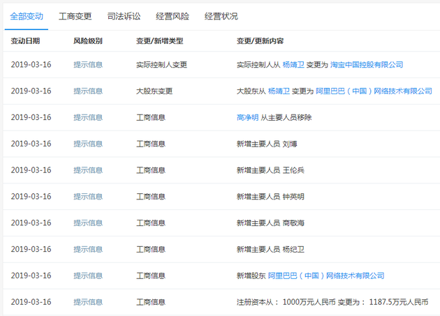
3月18日上午消息,据企查查信息显示,3月14日,阿里巴巴(中国)网络技术有限公司入股河南匠多多信息科技有限公司,控股比例20%,公司实际控制人为淘宝中国控股有限公司。
该企业成立于2018年8月,注册资本1187.5万元,经营范围包括装饰工程设计、灯具安装及维修、搬家服务、建筑工程施工等业务。


2019-03-18 10:05:30 新浪科技 互联网
3月18日上午消息,据企查查信息显示,3月14日,阿里巴巴(中国)网络技术有限公司入股河南匠多多信息科技有限公司,控股比例20%,公司实际控制人为淘宝中国控股有限公司。
该企业成立于2018年8月,注册资本1187.5万元,经营范围包括装饰工程设计、灯具安装及维修、搬家服务、建筑工程施工等业务。


下一篇
2026-03-04 07:16 观点
“工装国补”释放20%补贴红利,一文拆解格力中央空调如何成为大赢家?
2026-03-03 15:06 电商
2026-03-03 11:04 观点
霍尔木兹海峡封锁下的中国应对:战略储备筑牢安全底线,韧性经济从容破局
2026-03-03 08:27 观点
2026-03-03 08:21 观点
2026-03-03 08:17 观点
“史诗怒火”点燃德黑兰:哈梅内伊遇袭之后,中东会迎来第六次战争吗?
2026-03-02 07:57 观点
2026-03-02 07:52 观点
“史诗怒火”点燃德黑兰:哈梅内伊遇袭之后,中东会迎来第六次战争吗? ——2026年3月美以突袭伊朗深度复盘与未来推演
2026-03-02 07:49 观点
“一老一小”工程在行动之2026年第一届社区综合治理联盟工作会胜利召开
2026-03-01 09:41 热点日报
2019-05-10
2018-10-22
2019-05-14
2020-01-09
2019-05-09
2019-03-05
2020-02-28
2019-05-09
2018-09-07
2019-08-21